Caso clínico
Presentamos el caso de un paciente de 27 años que consulta por tos y autoescucha de pitos de predominio nocturno. Su queja fundamental es que la tos le impide el descanso. Es un síntoma de unos dos meses de evolución. Comienza con la tos y consulta cuando comienza en la última semana a escuchar pitos también por la noche.
Lleva 10 meses sin fumar tras unos 8 años de consumo moderado que no hemos cuantificado. No tiene alergias medicamentosas conocidas ni a alergenos ambientales conocidos.
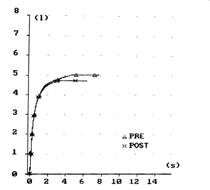
Curva flujo-volumen
La maniobra ha sido correcta, tiene un ascenso rápido y un claro pico. En su descenso podemos observar una leve concavidad que podría corresponder a un patrón obstructivo.(a) La maniobra post-broncodilatador tiene un área mayor y parece menos cóncava (c) pero recordar que para saber sí es positiva hay que mirar los datos.
(b) muestra una inspiración al final de la post-broncodilatadora que no influye en la interpretación ya que la parte espiratoria forzada está completa.
Curva volumen-tiempo
En la curva volumen tiempo podemos observar que la maniobra basal es algo corta y no es de ascenso tan rápido como la normal. (a) En este sentido se observa diferencia entre las dos maniobras. Hemos señalado este artefacto provocado porque el paciente ha cogido aire al final de la maniobra post-broncodilatador. (b)
Datos
FET100%. Tiempo de espiración total. La maniobra basal es algo corta. No llega a los estándares de 6 segundos (1) pero como hemos hecho nosotros la prueba podemos acreditar que el esfuerzo del paciente ha sido máximo por lo que la tendremos en cuenta. Además es la mejor en tiempo de 5 maniobras.
Índice FEV1/FVC. Nos muestra un dato inferior al 70%. (2) Esto nos permite afirmar que se trata de un patrón obstructivo.
Podemos resaltar que el índice FEV1/FVC se ha normalizado con la administración del broncodilatador. Da un valor mayor del 70%. (5) Esto indica reversibilidad completa de la obstrucción (típica del Asma y no de la EPOC donde la obstrucción persiste)
FVC. Capacidad vital forzada. Un dato superior al 80% es normal. (3)
FEV1. Es normal porque es superior al 80%. (4)
Prueba broncodilatadora.
Fijándonos en los valores de FEV1 vemos que ha mejorado más de 200 mL (3.33 a 3.73, luego son 400 mL) (6) y en porcentaje un 11%. (7) Siendo puristas debería subir un 12% pero con clínica compatible y un esfuerzo adecuado en las maniobras creo que podemos darlo como una prueba positiva.
Os aseguro que he forzado al paciente para conseguir un 12% pero creo que, en este caso, es suficiente para el diagnóstico.
Diagnóstico
Con todos los datos anteriores podemos afirmar que se trata de una espirometría basal obstructiva con una reversibilidad completa y una prueba broncodilatadora positiva. En el contexto clínico del paciente tenemos un claro diagnóstico de Asma bronquial.
No es fácil conseguir a la primera un diagnóstico de Asma en Atención Primaria pero ya podéis ver que es posible.

24 septiembre, 2014 

















Curva basal (PRE). En esta curva vemos un inicio de la maniobra brusco, con un pico claro














Comentarios recientes