Caso clínico
Es un paciente de 63 años. Lo he traído por su historia clínica. En su vida laboral fue carpintero y tuvo que reconducir su trabajo habitual al ser diagnosticado de asma laboral. En su momento siguió el consejo antitabaco de su médico y dejó de fumar hace ya más de 20 años. Su índice tabáquico acumulado es de 10 paquetes-año.
El motivo de hacer la espirometría es la presencia de tos postcatarral y tras esfuerzo físico.
Gráfica flujo-volumen
Es una gráfica grande, que pasa por los cuadros de referencia, con un pico claro (a) y un descenso sin artefactos (b) con final suave. El paradigma de una curva flujo-volumen normal.
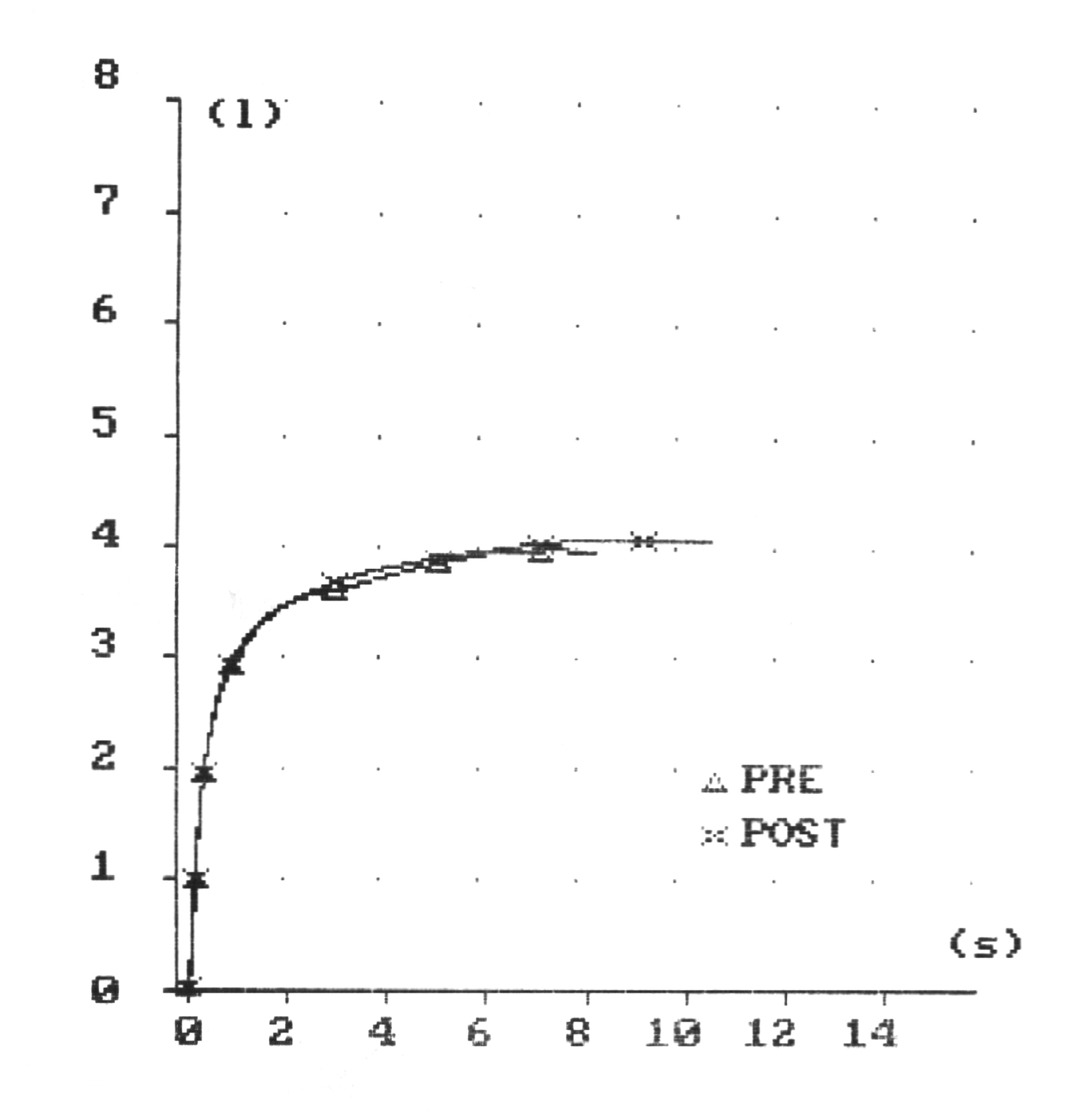
Gráfica volumen-tiempo
También vemos una curva normal. Ascenso rápido haciendo meseta.
Datos
FET100%. Tiempo de espiración total. Superior a los 6 segundos, tiempo mínimo para considerar todos los parámetros de la espirometría. (1)
Índice FEV1/FVC. Mayor del 70% en ambas maniobras luego normal. (2)
FVC. Capacidad vital forzada. Mayor del 80% luego normal. (3)
FEV1. Igual que el la FVC si es superior al 80% de la referencia es normal. (4)
Prueba broncodilatadora. 0% de diferencia, no miraremos más. (5)
Diagnóstico
Esa tos postcatarral tendrá probablemente otra causa no pulmonar. La revisión funcional es normal.

19 mayo, 2015 



No hay comentarios todavía... ¡Sé el primero en dejar uno!