Caso clínico
Traigo un caso clínico muy común. Una tos postcatarral persistente. Como observareis si leéis el blog con frecuencia es un motivo para indicar una espirometría. Este caso esta aquí por una anomalía o variante de la normalidad en la curva flujo-volumen.
Gráfica flujo-volumen

Es una curva de ascenso rápido con un pico claro marcado con a. La anomalía a la que me refiero ocurre en el descenso (b). Podéis ver una especie de meseta en el descenso. Dos puntos a tener en cuenta para valorar si es una variante de la normalidad o es una maniobra más hecha. Primero al realizar la maniobra si el esfuerzo es máximo y uniforme por parte del paciente y no ocurren artefactos como toses u otras cosas. Segundo apreciáis que la curva PRE y la POST son muy parecidas. Esto es muy difícil hacerlo mal.
En este caso el paciente había soplado bien sin artefactos y esfuerzo máximo. Repetía esta morfología en todas las curvas. Por lo tanto hay que darla como normal. Podría deberse a la anatomía de la vía aérea alta, por ejemplo, aunque es difícil de asegurar.
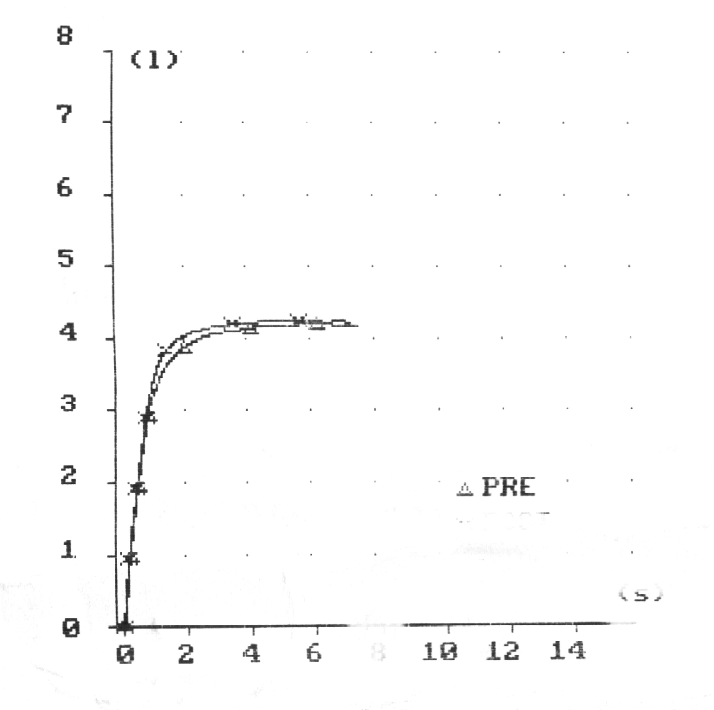
Gráfica volumen-tiempo
Curva normal. Ascenso rápido y meseta. Disculpad pero se ve medio mal por un defecto del escaneo.
Datos
FET100%. Tiempo de espiración total. Casi 6 segundos. Puede considerarse válido (1)
Índice FEV1/FVC. Superior al 70% luego normal. (2)
FVC. Capacidad vital forzada. Superior al 80% luego normal. (3) Los valores normales los pongo en casi todos los casos y puede parecer repetitivo pero tener en cuenta que puede haber lectores que llegan al blog por primera vez.
FEV1. Normal ya que es mayor del 80% (4)
Prueba broncodilatadora. Hay casi 200 mL entre ambas. La POST son 3.63 y la PRE 3.45. (5) Son 180 mL. No cumple el criterio de ser mayor de 200 mL pero se acerca. Esto nos puede poner en alerta pero la diferencia no es más que un 5%. (6) Prueba broncodilatadora negativa.
Diagnóstico
Os traigo esta espirometría por la anomalía que a veces vemos en la curva flujo volumen. Si técnicamente esta bien hecha adelante. Por eso es importante saber algo de la técnica de la maniobra o haberla hecho uno mismo para interpretarla. Traeremos más curvas raras en el futuro.

19 mayo, 2015 


No hay comentarios todavía... ¡Sé el primero en dejar uno!